Suspensión de horquilla
Los colgadores de horquilla son soportes de tubería que están diseñados para asegurar tramos de tubería colgantes o elevados.Si necesita suspender tuberías de vigas elevadas o del techo, los colgadores de horquilla son un salvavidas.
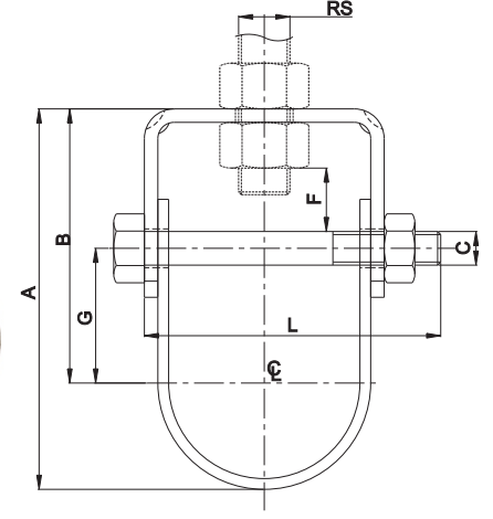
Por lo general, los colgadores de horquilla incluyen un yugo que se conecta al soporte superior.
Hay colgadores de horquilla de servicio ligero y colgadores de horquilla estándar.La línea de soportes y colgadores comerciales de uso liviano es una opción económica para proyectos mecánicos y de plomería de uso liviano.
Descripción
Rango de tamaño: 1/2 pulgadas a 24 pulgadas
Temperatura máxima Liso 650°F, Galvanizado 450°F.
Cumple con la especificación federal AA-11192A, WW-H-171 (Tipo 1), MSS SP-69 (Tipo 1).
Instalación: cuando se utiliza una horquilla de gran tamaño, se recomienda instalar un espaciador de ancho completo en el perno transversal para evitar fallas debido a la desfiguración de la correa en U.Cuando use tubería aislada, ordene el tamaño de la suspensión para que corresponda a la dimensión total.También se recomienda utilizar pantallas aislantes.
Pedidos: especifique el número de figura, el tamaño de la tubería, la descripción y el acabado.
Características: Diseñado con el yugo en el exterior de la correa en U inferior para que el yugo no se deslice hacia el centro del perno, por lo que se minimiza la flexión del perno.Manguito espaciador utilizado para tamaños de 16' a 36'.
Nota: Es posible que haya orificios de formación perforados en ciertos tamaños de este colgador de horquilla.Estos orificios son únicamente para fines de fabricación y no afectan la integridad estructural ni la capacidad de carga de estos soportes colgantes.
Construcción
Partes | Material |
yugo superior | Acero al carbono, negro o galvanizado |
Correa inferior | Acero al carbono, negro o galvanizado |
Semental | Acero al carbono, negro o galvanizado |
Nuez | Acero al carbono, negro o galvanizado |

Idoneidades
Servicio: Recomendado para la suspensión de tuberías estacionarias sin aislamiento.

Agua extinción de incendios